| Element | XC3000 | XC4000E | XC4000X | XC5200 | XC9000 | Spartan | SpartanXL | Virtex |
|---|---|---|---|---|---|---|---|---|
| OFDT | Primitive | Macro | Macro | Macro | Macro | Macro | Macro | Macro |
| OFDT4, OFDT8, OFDT16 | Macro | Macro | Macro | Macro | Macro | Macro | Macro | Macro |




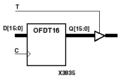
OFDT, OFDT4, OFDT8, and OFDT16 are single or multiple D flip-flops whose outputs are enabled by a tristate buffers. The data outputs (Q) of the flip-flops are connected to the inputs of output buffers (OBUFT). The outputs of the OBUFTs (O) are connected to OPADs or IOPADs. These flip-flops and buffers are located in input/output blocks (IOB) for XC3000 and XC4000. The data on the data inputs (D) is loaded into the flip-flops during the Low-to-High clock (C) transition. When the active-Low enable inputs (T) are Low, the data on the flip-flop outputs (Q) appears on the O outputs. When T is High, outputs are high impedance (Off).
The flip-flops are asynchronously cleared with Low outputs, when power is applied. For CPLDs, the power-on condition can be simulated by applying a High-level pulse on the PRLD global net. FPGAs simulate power-on when global reset (GR) or global set/reset (GSR) is active. GR for XC3000 is active-Low. GR for XC5200 and GSR (XC4000, Spartans, Virtex) default to active-High but can be inverted by adding an inverter in front of the GR/GSR input of the STARTUP or STARTUP_VIRTEX symbol.
| Inputs | Outputs | ||
|---|---|---|---|
| T | D | C | O |
| 1 | X | X | Z |
| 0 | D | d | |
| d = state of referenced input one setup time prior to active clock transition | |||
Figure 8.29 OFDT Implementation XC4000, Spartans |
Figure 8.30 OFDT Implementation XC5200, Virtex |
Figure 8.31 OFDT Implementation XC9000 |
Figure 8.32 OFDT8 Implementation XC3000, XC4000, XC5200, XC9000, Spartans, Virtex |