| XC3000 | XC4000E | XC4000X | XC5200 | XC9000 | Spartan | SpartanXL | Virtex |
|---|---|---|---|---|---|---|---|
| Macro | Macro | Macro | Macro | Macro | Macro | Macro | Macro |



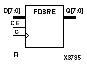
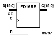
FD4RE, FD8RE, and FD16RE are, respectively, 4-, 8-, and 16-bit data registers. When the clock enable (CE) input is High, and the synchronous reset (R) input is Low, the data on the data inputs (D) is transferred to the corresponding data outputs (Q0) during the Low-to-High clock (C) transition. When R is High, it overrides all other inputs and resets the data outputs (Q) Low on the Low-to-High clock transition. When CE is Low, clock transitions are ignored.
The flip-flops are asynchronously cleared, output Low, when power is applied. For CPLDs, the power-on condition can be simulated by applying a High-level pulse on the PRLD global net. FPGAs simulate power-on when global reset (GR) or global set/reset (GSR) is active. GR for XC3000 is active-Low. GR for XC5200 and GSR (XC4000, Spartans, Virtex) default to active-High but can be inverted by adding an inverter in front of the GR/GSR input of the STARTUP or STARTUP_VIRTEX symbol.
| Inputs | Outputs | |||
|---|---|---|---|---|
| R | CE | Dz - D0 | C | Qz - Q0 |
| 1 | X | X | 0 | |
| 0 | 0 | X | X | No Chg |
| 0 | 1 | Dn | dn | |
| z = 3 for FD4RE; z = 7 for FD8RE; z = 15 for FD16RE dn = state of referenced input (Dn) one setup time prior to active clock transition | ||||
Figure 5.9 FD8RE Implementation XC3000, XC4000, XC5200, XC9000, Spartans, Virtex |