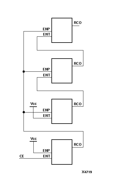
Figure 2.3 Carry-Lookahead Design

Carry-Lookahead Design figures/x4719n.gif