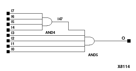
Figure 3.25 AND8 Implementation XC3000

AND8 Implementation XC3000 figures/x8114.gif