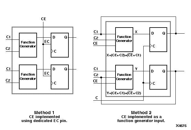
Figure 1.3 Clock Enable Implementation Methods

Clock Enable Implementation Methods figures/x4675n.gif