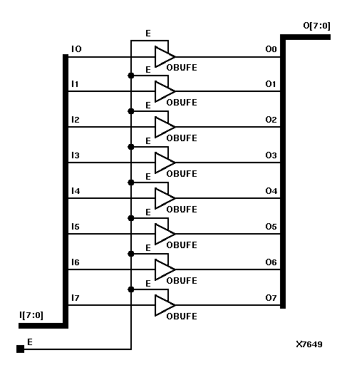
Figure 8.3 OBUFE8 Implementation XC3000, XC4000, XC5200, XC9000, Spartans, Virtex

OBUFE8 Implementation XC3000, XC4000, XC5200, XC9000, Spartans, Virtex figures/x7649.gif