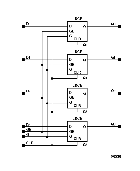
Figure 7.13 LD4CE Implementation XC4000X, XC5200, SpartanXL, Virtex

LD4CE Implementation XC4000X, XC5200, SpartanXL, Virtex figures/x6538n.gif