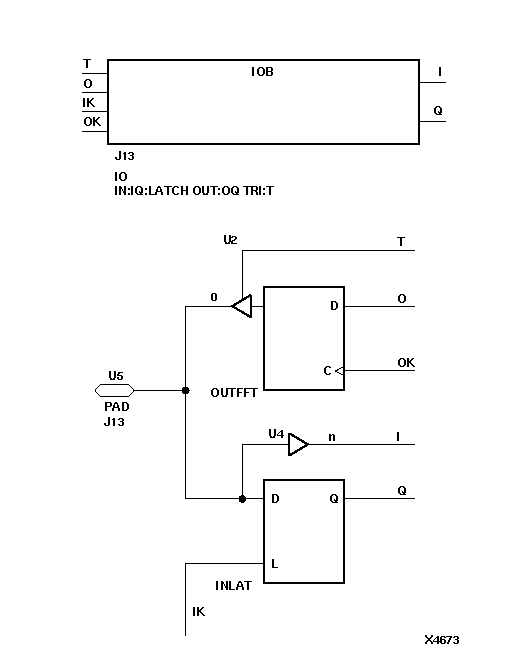
Figure 6.47 XC3000 IOB Primitive Example and Equivalent Circuit

XC3000 IOB Primitive Example and Equivalent Circuit figures/x4673n.gif