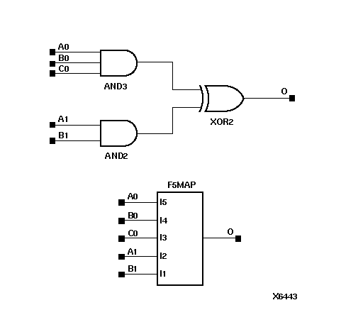
Figure 5.2 F5MAP Primitive Example

F5MAP Primitive Example figures/x6443n.gif